一、閥門的選擇(ze)和測試準備 


1. 必須提供測試閥門的填料API622證書或測試報告,將其附在API624低泄漏測試報告中。 


2. 需測(ce)試的(de)(de)(de)(de)閥(fa)(fa)門(men)(men)應全部裝配好(hao),以(yi)待測(ce)試。閥(fa)(fa)門(men)(men)應從生產(chan)廠(chang)家(jia)(jia)或分銷商(shang)庫(ku)(ku)存(cun)處(若存(cun)在(zai)此(ci)庫(ku)(ku)存(cun))隨機選(xuan) 擇(ze)。若非庫(ku)(ku)存(cun)閥(fa)(fa)門(men)(men),廠(chang)家(jia)(jia)需保證被測(ce)試的(de)(de)(de)(de)閥(fa)(fa)門(men)(men)之前沒有進行任何修改以(yi)滿(man)足型式測(ce)試的(de)(de)(de)(de)要求,且(qie)此(ci)閥(fa)(fa)門(men)(men)可 以(yi)作為(wei)廠(chang)家(jia)(jia)庫(ku)(ku)存(cun)產(chan)品的(de)(de)(de)(de)典型代表(biao)。閥(fa)(fa)門(men)(men)的(de)(de)(de)(de)選(xuan)擇(ze)需要得到(dao)購買方的(de)(de)(de)(de)批準。


 3. 中道(dao)和壓蓋螺(luo)栓的(de)扭矩需證實與廠家的(de)發行的(de)安裝(zhuang)規(gui)范一致。


 4. 閥(fa)門所有的先(xian)期(qi)測試需記錄于(yu)低(di)泄漏測試報告(附件(jian)一)中。 


 5. 作為安全預防措(cuo)施,在(zai)測(ce)試之前,需用惰性氣體來(lai)清空閥門腔(qiang)內的空氣。


二、型式(shi)測試 


 1. 測試(shi)的(de)介質需(xu)用最小純度(du)為97%的(de)甲烷。 


  注意(yi):測(ce)試(shi)期間(jian)使用的甲烷是一種加壓可燃氣體(ti),要求采取適當的安全措施。 


    a. 閥(fa)門的(de)(de)測(ce)試具有(you)潛(qian)在的(de)(de)危(wei)(wei)險(xian),必(bi)須把人(ren)員的(de)(de)安(an)全(quan)放在首位考(kao)慮(lv)。鑒于此測(ce)試的(de)(de)性質,可能會(hui)發生加 壓氣(qi)體危(wei)(wei)險(xian)的(de)(de)釋放。需在測(ce)試封閉區(qu)域提供充分的(de)(de)屏障或隔(ge)離以及恰(qia)當的(de)(de)人(ren)員保護措(cuo)施(shi)。 

  

    b. 測(ce)試設施(shi)需設計成可確保所有(you)的(de)(de)測(ce)試狀(zhuang)況(kuang)是(shi)在安(an)全(quan)(quan),有(you)保護的(de)(de)環境下(xia)進行。測(ce)試廠家有(you)責(ze)任去分析 由于(yu)壓力和溫度造(zao)成的(de)(de)危害,并作出適當的(de)(de)安(an)全(quan)(quan)保護措施(shi)。應遵守所有(you)可適用的(de)(de)安(an)全(quan)(quan)法規(gui)。 


    c. 所有的設備需有相(xiang)應的證(zheng)書(shu)證(zheng)明其可以承受最(zui)小和最(zui)大的壓力以及測(ce)試環境的溫度。 


   d. 供應甲(jia)烷的進口和(he)(he)出口所(suo)用(yong)的軟管和(he)(he)管道應可(ke)適用(yong)最大和(he)(he)最小壓力和(he)(he)溫度(du)。當(dang)用(yong)到軟管時,需設計(ji) 適當(dang)的控制系統(tong)來防止(zhi)萬一發生介(jie)質吹出時,軟管從(cong)測(ce)試臺(tai)面分離。 


   e. 所有測試需遵(zun)守當地和(he)國家的(de)相關法(fa)律(lv)法(fa)規。


 2. 測試的閥(fa)門的閥(fa)桿方向需是垂(chui)直的。 


 3. 閥門需根據(ju)圖1進行總(zong)共310個(ge)機械循環和3個(ge)熱循環周期。


    閥(fa)門在室溫情況下開始做機械循環。若買(mai)方 有要求(qiu),可選做在–29 °C (–20 °F)的低(di)溫測試(見圖1)


閥門循環.bmp



 4. 閥門(men)可用內部熱源或(huo)者如電熱毯,線圈(quan)等外部熱源來加熱,也可用其他合適的設備或(huo)適當的內部熱源 來加熱。 


 5. 加熱(re)溫(wen)度應升高至260 °C (500 °F) ±5% 


 6. 可適用的材料的測試(shi)壓力需低于(yu)41.4barg(600psig),或(huo)根據(ju)ASME B16.34在 260 °C (500 °F)下的 最大允許壓力值,并且在整個測試(shi)期間保持(chi)不變。


 7. 測(ce)試(shi)的(de)(de)閥(fa)門(men)可(ke)安裝一(yi)種使閥(fa)門(men)機械(xie)循環的(de)(de)驅(qu)動(dong)。此(ci)驅(qu)動(dong)不可(ke)強加給(gei)閥(fa)桿或(huo)填(tian)料(liao)額外的(de)(de)側邊(bian)載荷。第(di)一(yi) 次(ci)和(he)最后一(yi)次(ci)的(de)(de)測(ce)試(shi)需記錄運行扭矩值。 


 8. 需記錄(lu)靜態和動態的閥桿泄漏測量值。


   a. 泄漏需在靜(jing)態空氣(qi)中進行測量。


      測試期(qi)間(jian)應(ying)使用鋁(lv)箔(bo)外殼來屏蔽受(shou)環境影響的潛在的滲漏通路。鋁(lv) 箔(bo)外殼應(ying)包括閥桿外徑和填(tian)料的外徑。 


   b. 需對中(zhong)道連(lian)接和輔(fu)助連(lian)接進行泄漏探測。


   中道連(lian)接和輔助連(lian)接的泄漏會影響泄漏測(ce)量(liang)的讀數,應在 測(ce)試之前糾正過(guo)來,并(bing)在報告中記(ji)錄。閥蓋的探測(ce)針頭的速率應該在每秒25mm(1英寸)。應調整(zheng)儀(yi)器來彌(mi)補(bu) 后臺的甲(jia)烷(wan)水(shui)平。 


  c. 應在以設備反應時(shi)(shi)間(jian)兩倍(bei)的時(shi)(shi)間(jian)延遲后,記錄靜(jing)態(tai)/動態(tai)泄漏。 


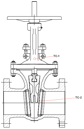
 9. 閥(fa)門應配備熱電偶來監(jian)測(ce)測(ce)試期間的溫度(du)。應在兩個(ge)位置監(jian)測(ce)并記錄溫度(du)。(見圖2) 


閥門溫度位置.png


   a. TC-1處,附(fu)在填料(liao)箱上(shang)。附(fu)在填料(liao)箱上(shang)的熱電偶需控制溫度。 


   b. TC-2處,固定在閥(fa)體(ti)外部,臨近流(liu)通路徑的地方,可作為參考測量。 


   c.  TC-2處(chu),需與TC-1處(chu)值同等(deng)或大于TC-1處(chu)。


 10.  不允許(xu)在(zai)型式測試過程中調整填料。


  浙江至德鋼業有限公司專業生產不銹(xiu)鋼管及管道連接配件廠家,倉庫常備不銹鋼管庫存1000余噸及部分不銹鋼法蘭管件(彎頭|三通|大小頭)現貨,常用規格可當天發貨。另可提供各種不銹鋼管切割、拋光、折彎、鉆孔、焊接、車床加工及管道預制件加工等配套服務。