1. 空分站工(gong)藝流程(cheng)簡(jian)介


  空分裝(zhuang)(zhuang)置(zhi)(zhi)(Air Separation Unit,ASU)是用來分離空氣(qi)(qi)中(zhong)的(de)各(ge)組分氣(qi)(qi)體(ti),為全(quan)廠工(gong)藝裝(zhuang)(zhuang)置(zhi)(zhi)及(ji)各(ge)輔助裝(zhuang)(zhuang)置(zhi)(zhi)提供所需要的(de)氧氣(qi)(qi)、氮氣(qi)(qi)、氬氣(qi)(qi)等氣(qi)(qi)體(ti)和(he)液體(ti)產品的(de)裝(zhuang)(zhuang)置(zhi)(zhi)。氧氣(qi)(qi)和(he)氮氣(qi)(qi)是煉化裝(zhuang)(zhuang)置(zhi)(zhi)中(zhong)不可缺少的(de)原料氣(qi)(qi)和(he)保護氣(qi)(qi)。


  在空分領域中(zhong),深冷法(fa)(fa)、變壓(ya)吸(xi)附(fu)法(fa)(fa)、膜分離(li)法(fa)(fa)是(shi)應用(yong)于工(gong)業生(sheng)產(chan)的(de)(de)三(san)大(da)分離(li)方(fang)法(fa)(fa)。深冷法(fa)(fa)是(shi)傳統(tong)的(de)(de)制氧(yang)(氮(dan)(dan))方(fang)法(fa)(fa),在國內外的(de)(de)制氧(yang)(氮(dan)(dan))行業中(zhong)仍占(zhan)據(ju)著統(tong)治地位,適用(yong)于氧(yang)(氮(dan)(dan))氣需(xu)(xu)(xu)求量大(da)、純度高,且(qie)要求連續供氣,并(bing)將液氧(yang)(氮(dan)(dan))作為儲備氣源的(de)(de)生(sheng)產(chan)場(chang)合,變壓(ya)吸(xi)附(fu)法(fa)(fa)(PSA)和膜分離(li)法(fa)(fa)是(shi)新興的(de)(de)制氧(yang)(氮(dan)(dan))方(fang)法(fa)(fa),其技術(shu)日臻(zhen)成(cheng)熟,適用(yong)于氧(yang)(氮(dan)(dan))氣需(xu)(xu)(xu)求量小、純度低、開停迅速、操(cao)作彈性大(da)、無(wu)需(xu)(xu)(xu)液體產(chan)品(pin)的(de)(de)生(sheng)產(chan)場(chang)合。


  目前,國內外大型空分裝置(zhi)流程(cheng)多數采用深(shen)冷法。根據產品壓(ya)縮(suo)情況(kuang),深(shen)冷法可(ke)分為(wei)外壓(ya)縮(suo)流程(cheng)和(he)內壓(ya)縮(suo)流程(cheng)。其中(zhong),內壓(ya)縮(suo)流程(cheng)較(jiao)為(wei)廣泛(fan)地應用在冶金、石油化工等行業(ye)。根據循環增壓(ya)機(ji)壓(ya)縮(suo)介質的(de)不同,內壓(ya)縮(suo)流程(cheng)通常(chang)可(ke)分為(wei)空氣循環流程(cheng)和(he)氮氣循環流程(cheng)。


  空分設備系統,如(ru)圖5-150所示。


150.jpg


  目前空(kong)分(fen)設(she)(she)(she)備流(liu)程主要分(fen)為外(wai)壓(ya)(ya)(ya)縮(suo)(suo)(suo)(suo)流(liu)程和內壓(ya)(ya)(ya)縮(suo)(suo)(suo)(suo)流(liu)程。外(wai)壓(ya)(ya)(ya)縮(suo)(suo)(suo)(suo)流(liu)程就是(shi)(shi)空(kong)分(fen)設(she)(she)(she)備生(sheng)產(chan)低壓(ya)(ya)(ya)氧(yang)(yang)氣,然后經(jing)氧(yang)(yang)壓(ya)(ya)(ya)機加壓(ya)(ya)(ya)至(zhi)所需壓(ya)(ya)(ya)力供(gong)給用(yong)戶(hu)。內壓(ya)(ya)(ya)縮(suo)(suo)(suo)(suo)流(liu)程是(shi)(shi)相對(dui)于(yu)外(wai)壓(ya)(ya)(ya)縮(suo)(suo)(suo)(suo)而言(yan)的。就是(shi)(shi)取(qu)消氧(yang)(yang)壓(ya)(ya)(ya)機,直接從空(kong)分(fen)設(she)(she)(she)備生(sheng)產(chan)出中高壓(ya)(ya)(ya)的氧(yang)(yang)氣供(gong)給用(yong)戶(hu)。內壓(ya)(ya)(ya)縮(suo)(suo)(suo)(suo)流(liu)程與(yu)外(wai)壓(ya)(ya)(ya)縮(suo)(suo)(suo)(suo)流(liu)程的主要區別在(zai)于(yu)產(chan)品氧(yang)(yang)的供(gong)氧(yang)(yang)壓(ya)(ya)(ya)力是(shi)(shi)液氧(yang)(yang)在(zai)冷箱(xiang)內經(jing)液氧(yang)(yang)泵加壓(ya)(ya)(ya)達到的,如(ru)圖(tu)5-151所示(shi)。


151.jpg



2. 空壓站工藝(yi)流程簡介


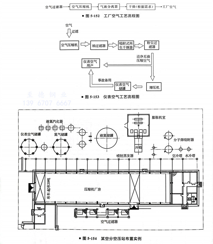
  在(zai)煉(lian)油(you)和石油(you)化工企業的(de)(de)生產中(zhong),作為常(chang)用吹掃介質的(de)(de)工廠(chang)空氣及儀表(biao)動力來(lai)源的(de)(de)儀表(biao)空氣是必(bi)不可少的(de)(de)。因此,在(zai)煉(lian)油(you)和石油(you)化工企業的(de)(de)工廠(chang)設(she)計(ji)中(zhong),經常(chang)能遇到作為重要輔助(zhu)設(she)施(shi)的(de)(de)空壓(ya)站的(de)(de)設(she)計(ji)。


  工廠空氣工藝流(liu)程圖(tu),如(ru)圖(tu)5-152所示。儀表空氣工藝流(liu)程圖(tu),如(ru)圖(tu)5-153所示。


152.jpg


3. 某空分空壓(ya)站(zhan)布置實例(li)(圖(tu)5-154)






聯系方式.jpg