①. 此處的(de)高(gao)點(dian)(dian)排(pai)氣及(ji)低點(dian)(dian)排(pai)液是指在PID圖上可以(yi)不表(biao)示(shi)的(de)。高(gao)點(dian)(dian)排(pai)氣用(yong)于水壓試驗及(ji)液體管道的(de)排(pai)氣,低點(dian)(dian)排(pai)液用(yong)于水壓試驗及(ji)停車排(pai)凈(jing)等。PID圖上所(suo)表(biao)示(shi)的(de)排(pai)氣和排(pai)液應按流(liu)程要求,并遵循(xun)有(you)關規定進行(xing)設(she)計(ji)。


②. 不銹(xiu)鋼管(guan)道(dao)的高點與低點均應分別備有排氣口與排液口,并位于容易接近的地方。如該處(相同高度)有其他接口可利用時,可不另設排氣口或排液口。除管廊上的管道外,對于公稱直徑小于或等于25mm的管道可省去排氣口。對于蒸汽伴熱管迂回時出現的低點處,可不設排液口。


③. 高(gao)(gao)點排(pai)(pai)氣管的(de)(de)(de)公稱(cheng)直(zhi)徑(jing)最小應為15mm;低點排(pai)(pai)液(ye)(ye)管的(de)(de)(de)公稱(cheng)直(zhi)徑(jing)最小應為20mm。當主管公稱(cheng)直(zhi)徑(jing)為15mm時,可采用等徑(jing)的(de)(de)(de)排(pai)(pai)液(ye)(ye)口(kou)(kou)。SH3012規定了放氣口(kou)(kou)、排(pai)(pai)液(ye)(ye)口(kou)(kou)的(de)(de)(de)最小公稱(cheng)直(zhi)徑(jing),對(dui)(dui)于(yu)(yu)(yu)(yu)小于(yu)(yu)(yu)(yu)或(huo)(huo)等于(yu)(yu)(yu)(yu)DN25的(de)(de)(de)為15mm,對(dui)(dui)于(yu)(yu)(yu)(yu)DN40~150的(de)(de)(de)為20mm,對(dui)(dui)于(yu)(yu)(yu)(yu)DN200~350的(de)(de)(de)為25mm,對(dui)(dui)于(yu)(yu)(yu)(yu)大于(yu)(yu)(yu)(yu)或(huo)(huo)等于(yu)(yu)(yu)(yu)DN400的(de)(de)(de)為40mm。高(gao)(gao)黏度介質管道(dao)排(pai)(pai)液(ye)(ye)口(kou)(kou)大于(yu)(yu)(yu)(yu)或(huo)(huo)等于(yu)(yu)(yu)(yu)DN25。


④. 氣(qi)體管道的高點排氣(qi)口可不設閥門,接(jie)管口應采用法蘭蓋或管帽等加以封(feng)閉(bi)。


⑤. 所有排液口最低點與地面或平臺的距離不(bu)宜小于150mm。


⑥. 飽和蒸汽管道(dao)的低點應設集(ji)液(ye)包及蒸汽疏水閥組。


⑦. 對于(yu)全(quan)廠性(xing)的(de)工藝、凝結水(shui)和水(shui)管道,在歷年(nian)最冷月月平(ping)均溫(wen)度的(de)平(ping)均值高于(yu)0℃的(de)地區,應少設(she)(she)低點排液(ye),低于(yu)或等于(yu)0℃的(de)地區,應在適當位置設(she)(she)低點排液(ye)。


⑧. 氫氣管道(dao)上不宜設(she)置高(gao)點排氣和(he)低點排液(ye)。


⑨. 蒸(zheng)汽(qi)主管(guan)(干管(guan))的排液設(she)施應(ying)包(bao)括撲集管(guan)、切斷(duan)閥和疏(shu)水閥(具體可見本書(shu)“蒸(zheng)汽(qi)管(guan)道集液包(bao)”所述)。


⑩. 公用工程(cheng)管道的末端應(ying)設置低點排(pai)液(ye)口,以利排(pai)液(ye)和吹(chui)掃。


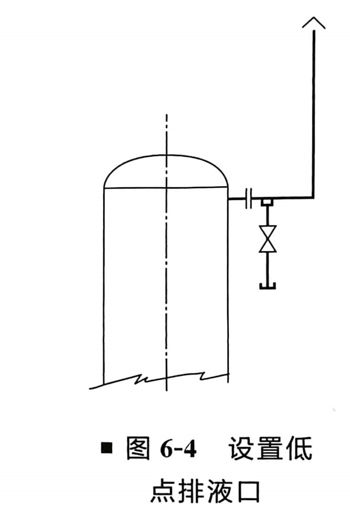
?. 凡向(xiang)大氣排放(fang)的排氣管道,應(ying)設置低(di)點排液口,如圖6-4所示。


4.jpg


?. 輸送催化劑或高黏度的(de)物料(如焦油(you)、瀝(li)青、重(zhong)質(zhi)燃料油(you)等(deng))管道排氣、排液口的(de)直徑應不小(xiao)于(yu)DN25。


?. 漿(jiang)液管道(dao)不(bu)宜設置排氣和(he)排液口,如需要設置排液口時其型(xing)式和(he)尺(chi)寸見圖6-5和(he)表6-3所示(shi)。


5.jpg


?. 輸送固體或漿料管道的排氣、排液管的切斷閥宜選用球閥旋(xuan)塞閥


?. 管道上(shang)排氣、排液口設置的閥門應靠近主管。


?. 振(zhen)動管(guan)道上直徑小于DN40密閉(bi)放空、放凈(jing)管(guan)根部接口處應采取加強措施。


?. 輸送(song)液態丁烷和(he)更輕的(de)液化烴(jing)類管(guan)道上(shang)的(de)排氣、排液管(guan)的(de)切斷閥(fa)應設雙閥(fa)。


?. 放(fang)(fang)氣或(huo)(huo)排(pai)液(ye)(ye)管(guan)(guan)(guan)(guan)(guan)上的(de)(de)切斷(duan)(duan)閥(fa)(fa)(fa),宜(yi)用(yong)閘閥(fa)(fa)(fa),閥(fa)(fa)(fa)后可(ke)接帶管(guan)(guan)(guan)(guan)(guan)帽(mao)(mao)短(duan)管(guan)(guan)(guan)(guan)(guan);對(dui)于(yu)高壓(ya)、極度(du)(du)及高度(du)(du)危(wei)害介質的(de)(de)管(guan)(guan)(guan)(guan)(guan)道(dao)應設(she)雙(shuang)閥(fa)(fa)(fa)。當設(she)置單閥(fa)(fa)(fa)時(shi),應加(jia)(jia)盲板或(huo)(huo)法蘭蓋;連續操作的(de)(de)可(ke)燃氣體管(guan)(guan)(guan)(guan)(guan)道(dao)低點的(de)(de)排(pai)液(ye)(ye)閥(fa)(fa)(fa),應為雙(shuang)閥(fa)(fa)(fa)。排(pai)出的(de)(de)液(ye)(ye)體應排(pai)放(fang)(fang)至(zhi)密閉系(xi)統:僅在開停工時(shi)使用(yong)的(de)(de)排(pai)液(ye)(ye)閥(fa)(fa)(fa),可(ke)設(she)一道(dao)閥(fa)(fa)(fa)門并加(jia)(jia)螺紋堵頭、管(guan)(guan)(guan)(guan)(guan)帽(mao)(mao)、盲板或(huo)(huo)法蘭蓋。可(ke)燃液(ye)(ye)體管(guan)(guan)(guan)(guan)(guan)道(dao)以及大于(yu)2.5MP。蒸(zheng)汽(qi)管(guan)(guan)(guan)(guan)(guan)道(dao)上排(pai)液(ye)(ye)管(guan)(guan)(guan)(guan)(guan)裝(zhuang)一個切斷(duan)(duan)閥(fa)(fa)(fa)時(shi),應在端頭加(jia)(jia)管(guan)(guan)(guan)(guan)(guan)帽(mao)(mao)(管(guan)(guan)(guan)(guan)(guan)堵)盲板或(huo)(huo)法蘭蓋。


?. 容器(qi)設備(bei)上的(de)排氣管(guan)除作(zuo)為(wei)進出(chu)料呼吸(xi)用外(wai),應設置(zhi)切斷閥(fa),閥(fa)門宜直接與設備(bei)管(guan)口相接。當只(zhi)安裝一(yi)個切斷閥(fa)時其端部(bu)應設置(zhi)絲堵、管(guan)帽或盲法蘭密封。


?. 允許向大氣(qi)排放的介質(zhi)排氣(qi)管端部的高(gao)度應(ying)符合本(ben)書“管道布置(zhi)設計的一般要求”中“32大氣(qi)排放的相(xiang)關規定”。


21. 為保(bao)證閥(fa)門檢修(xiu)、絲(si)堵、管(guan)(guan)帽(mao)及法蘭(lan)拆卸(xie)、軟管(guan)(guan)連接,管(guan)(guan)道(dao)上低(di)點排液管(guan)(guan)管(guan)(guan)端距地(di)面或樓(lou)板面的凈距不得小于100mm。


22. 接地(di)漏(lou)或開口(kou)罐的放(fang)凈管(guan)管(guan)口(kou)應高出(chu)地(di)漏(lou)或罐口(kou)大于(yu)或等于(yu)50mm。


23. 管道布置呈U形II形時,其水平或垂直(zhi)管道上(shang)的排(pai)氣、排(pai)液口安裝位置盡量設置在物料流向的下游端部。


24. 對(dui)易(yi)自(zi)聚、易(yi)凍結、易(yi)凝(ning)固(gu)、含(han)固(gu)體介質的(de)管道上的(de)排液管不應(ying)配成如圖(tu)6-6(a)所示的(de)彎管形式。一般應(ying)采用圖(tu)6-6(b)的(de)形式。圖(tu)6-6(c)右側(ce)的(de)排凈(jing)閥門(men)放(fang)置不合理,閥門(men)上側(ce)易(yi)積(ji)液。


6.jpg


25. 排(pai)氣(qi)、排(pai)液(ye)管端部連接形(xing)式。


  a. 當采用管螺紋管件連接時,排氣(qi)、排液閥出口處加絲堵密封。


  b. 當采用承插焊接(jie)型管(guan)件連(lian)(lian)接(jie)時(shi),排(pai)氣、排(pai)液閥出口(kou)處(chu)加(jia)螺紋管(guan)帽密封。如排(pai)氣、排(pai)液閥為法(fa)蘭連(lian)(lian)接(jie)時(shi),可采用盲法(fa)蘭密封,亦可采用螺紋法(fa)蘭加(jia)絲堵。


  c. 當(dang)采(cai)用定型管(guan)件連接時(shi),管(guan)端部加(jia)盲(mang)板法蘭,需要時(shi)可采(cai)用螺紋法蘭加(jia)絲堵。


26. 排氣(qi)(qi)和排液型式分為兩類(lei),一(yi)類(lei)為帶(dai)閥門(men)型,另一(yi)類(lei)為不(bu)帶(dai)閥門(men)型。不(bu)帶(dai)閥門(men)的排氣(qi)(qi)和排液不(bu)宜采用。


  各種類(lei)型(xing)的排氣、排液配管的選用(yong)應根(gen)據工(gong)程管道等級規定選用(yong)。


  其中螺(luo)紋連(lian)接主(zhu)(zhu)要(yao)用于低壓(ya)公用工程(cheng)管(guan)(guan)道(dao)上(shang)的排(pai)氣和排(pai)液。承插(cha)焊(han)連(lian)接主(zhu)(zhu)要(yao)用于碳鋼或低合金鋼的工藝(yi)(yi)管(guan)(guan)道(dao)或壓(ya)力較(jiao)高的公用工程(cheng)管(guan)(guan)道(dao)上(shang)。法蘭連(lian)接主(zhu)(zhu)要(yao)用于不銹鋼等合金鋼工藝(yi)(yi)管(guan)(guan)道(dao)上(shang)。設備上(shang)的排(pai)氣類型較(jiao)多。圖6-7所示(shi)為常用排(pai)氣、排(pai)液管(guan)(guan)安(an)裝(zhuang)圖(含工藝(yi)(yi)要(yao)求排(pai)氣和排(pai)凈(jing))。


7.jpg


聯系方式.jpg