①. 集液包應設置在下列場合。


  a. 蒸汽主管的(de)末(mo)端。


  b. 蒸汽管線的(de)立式II形補償彎管或立管最低處。


  c. 蒸(zheng)汽水平管的(de)低點處(chu)。


  d. 裝置(zhi)邊(bian)界蒸汽管線(xian)切斷閥之前。



②. 水平敷(fu)設的長蒸汽管(guan)應設集(ji)液(ye)包(bao),其間隔如下。


  a. 在裝置內,飽和(he)蒸汽宜為(wei)80m,過熱蒸汽宜為(wei)160m。


  b. 在(zai)裝置外,順(shun)坡時宜為300m,逆坡時宜為200m。



③. 管(guan)廊上蒸汽總管(guan)末(mo)端的(de)集(ji)液(ye)包配管(guan)應(ying)考慮以下(xia)要求。


  a. 集液包及(ji)接管與梁之間的凈距應大于(yu)熱位移量及(ji)保溫所(suo)需的空間,且不小于(yu)200mm(圖6-17)。


  b. 集(ji)液(ye)包的冷(leng)凝水出口管的方(fang)位不(bu)(bu)宜向管廊(lang)梁的一側(ce)引出,同時避免與管廊(lang)下層管道相碰。疏水閥(fa)應布置在不(bu)(bu)影(ying)響通行(xing)的地方(fang)。


  c. 集液包的(de)(de)冷凝水(shui)出口(kou)管(guan)的(de)(de)走向(xiang),除考慮管(guan)道柔性要求外,還要考慮便于設置管(guan)道支架及疏(shu)水(shui)閥(fa)組的(de)(de)支架。


  d. 在蒸汽主(zhu)管(guan)(guan)的位移較大時,靠近(jin)主(zhu)管(guan)(guan)的小(xiao)管(guan)(guan)支架應盡量(liang)利用主(zhu)管(guan)(guan)生根(gen),以減小(xiao)相對位移。


  e. 蒸汽管徑小于DN80時(shi),根(gen)據(ju)項(xiang)目要求(qiu)可(ke)不必采用(yong)集液包,僅(jin)設低點排放至疏(shu)水閥(fa)即可(ke)。


17.jpg

④. 集(ji)液包的結構如(ru)下。


  a. 集(ji)液包的冷(leng)凝水出口管線應設切斷閥(fa)或蒸(zheng)汽疏(shu)水閥(fa)組。


  b. 集(ji)液包通常采用標(biao)準管件組(zu)合而成,應符合管道等級規(gui)定。集(ji)液包下端宜用法蘭(lan)蓋(gai),兼作(zuo)吹掃用。也(ye)可以用焊接管帽,但需增加排液口(kou)。


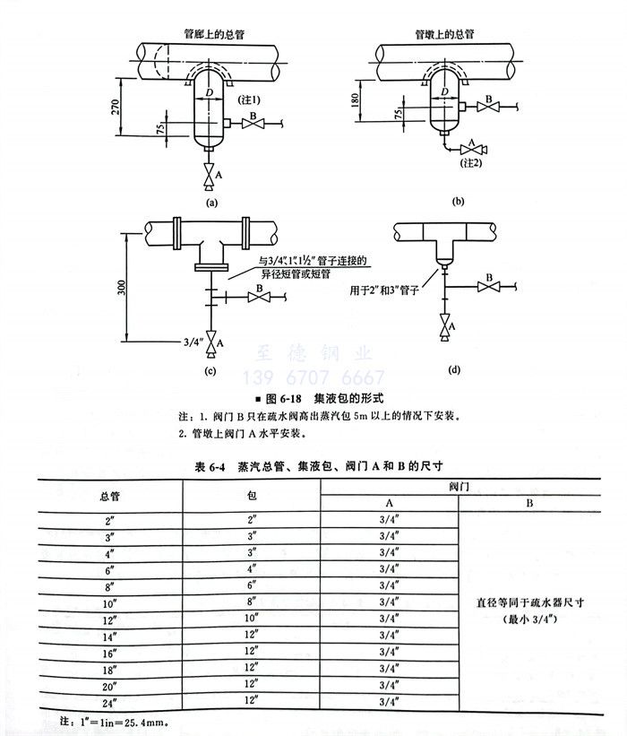
  c. 根據蒸汽主管的管徑范圍組合(he)形式(shi),集液(ye)包有如圖6-18所示的幾(ji)種形式(shi)。蒸汽總管、集液(ye)包、閥門A和(he)B的尺寸(cun)見表6-4。


18.jpg





聯系方式.jpg