一、塔的平臺


  塔平臺為從人孔、手孔處檢修設備;緊固法蘭;操作和維修調節閥組及檢修、安裝液面調(diao)節閥、大口徑閥門、檢測儀表、安全閥等附件而設。


  當下列附件需要布置在距地面3600mm以上,或距平臺面1800mm以上時,應考慮設置平臺(從地面至3600mm以下的高度時,可使用移動平臺):控制閥組;重沸器;人孔;安全閥;DN100以上的閥,電動閥;取樣裝置;DN200及以上的盲法蘭或“8”字盲板;有必要增加法蘭的地方;液位計。


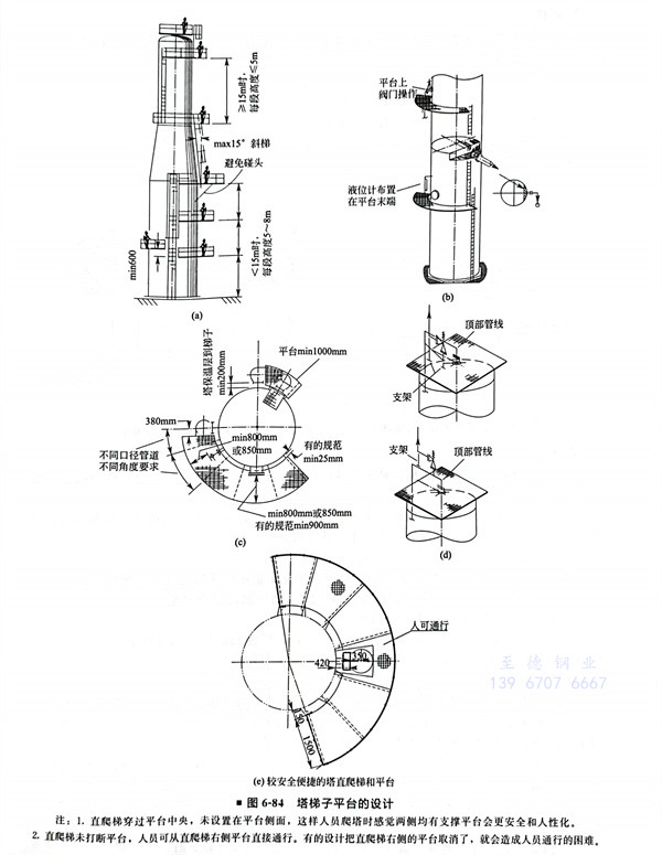
  現有的平臺(tai)寬度一(yi)般為1000~1500mm。人孔用平臺(tai)最小寬度為1000mm。


  塔頂平臺是為(wei)操作吊柱、放空閥和維修安全閥設置的,可制成方形,大小按需(xu)要確定。此(ci)外(wai),還應考慮如下事項。


   ①. 人孔(kong)中(zhong)心線以距(ju)平(ping)(ping)臺600~1000mm為宜,最適宜高度為750mm(SH 3011規定平(ping)(ping)臺距(ju)人孔(kong)底(di)部不(bu)宜大于800mm)。


   ②. 有(you)兩個以(yi)上塔設備并列(lie)的(de)情(qing)況下,建(jian)議統一(yi)平(ping)臺(tai)(tai)標高(gao),做聯合平(ping)臺(tai)(tai)。平(ping)臺(tai)(tai)應設防護欄桿和踢腳板,欄桿高(gao)度以(yi)1.2m為宜;平(ping)臺(tai)(tai)的(de)進出口處應有(you)自動(dong)復位欄桿;影響檢修的(de)欄桿段,應為可拆(chai)卸(xie)的(de)。


   ③. 聯合平(ping)臺應(ying)考慮各塔(ta)、架之間的(de)熱脹及(ji)其移動因素,留有縫(feng)隙,加入(ru)適(shi)當的(de)銷子。塔(ta)身用(yong)法(fa)蘭連接時,應(ying)在法(fa)蘭下側設置平(ping)臺,平(ping)臺面與法(fa)蘭的(de)距離不宜大于1.5m。


   ④. 通(tong)常,平(ping)臺的均布荷載為(wei)250~50~400kgf/㎡(2.5~4kPa)為(wei)宜,因維(wei)修或管架原因需要(yao)平(ping)臺承擔更大負荷時,須(xu)給設備(bei)工(gong)程師(shi)提出條件。


  圖(tu)6-83~圖(tu)6-85所示為平臺設置的照(zhao)片。





二、吊(diao)柱


 通常,塔的高(gao)度超過15m以(yi)上,及(ji)需(xu)滿足以(yi)下要(yao)求時(shi)(shi)需(xu)要(yao)設置吊(diao)柱:有填料時(shi)(shi);有內件(jian)及(ji)附(fu)件(jian)裝卸的情況(kuang)。


 吊柱(zhu)布(bu)置應注意的事項如下。


   ①. 吊(diao)柱下方地面應留有充(chong)分的(de)作業空(kong)間。


   ②. 應能達到塔上(shang)所有檢(jian)修和操作平臺的位置。


   ③. 在吊柱回轉(zhuan)覆(fu)蓋范圍內,應(ying)有(you)一處能夠避(bi)開所有(you)平臺(tai)和管道的豎直(zhi)通(tong)道。


   ④. 吊柱應布置在檢修(xiu)側范圍內(nei)。


 吊柱布置(zhi)如圖6-86所示。


85.jpg


三、梯子


  塔器上的(de)(de)梯子(zi)幾(ji)乎都是直梯,是上下各層(ceng)平臺以(yi)及安全逃生的(de)(de)通道,也可作(zuo)(zuo)為觀(guan)察、操作(zuo)(zuo)和維修某些(xie)附(fu)件的(de)(de)設施(shi)。


  需要經(jing)常上(shang)去進行(xing)操作(zuo)和(he)維(wei)修工作(zuo)的平臺應(ying)設(she)置(zhi)梯(ti)子;下(xia)列附件也可(ke)靠近直梯(ti)布置(zhi):3”及以下(xia)的閥;各種液位計(ji)視鏡;手(shou)孔(kong);壓力計(ji)等儀表。


  梯子布(bu)置(zhi)應注(zhu)意的(de)事項如下:


    ①. 梯子(zi)的布置(zhi)間距必須滿(man)足GB50160《石(shi)油化工(gong)企業設計(ji)防火規(gui)(gui)范》的規(gui)(gui)定。


    ②. 直梯寬度以0.4~0.6m為宜,高(gao)度超過2m時應加設安(an)全(quan)護籠。


    ③. 塔平臺直梯(ti)應自下而上分段錯開布置。


    ④. 高度在15m及以下時(shi),每段(duan)高5~8m為宜,超過15m時(shi),每段(duan)應不高于(yu)5m,否則應設中間休(xiu)息平(ping)臺(按SH3011的(de)規定(ding))。


四、管(guan)口方位


  塔的(de)(de)管道與其(qi)他設備管道相(xiang)比(bi),其(qi)特點是根據工藝要求安(an)排好管口和(he)塔盤等內部結(jie)構的(de)(de)關系,這種關系的(de)(de)好壞對(dui)管道布置的(de)(de)簡(jian)化(hua)、操作的(de)(de)方便、檢修的(de)(de)難易、是否經(jing)濟(ji)等有(you)很大(da)的(de)(de)影(ying)響。因此(ci),需要對(dui)塔的(de)(de)內部結(jie)構、塔的(de)(de)操作進行充分(fen)了解(jie)。


 1. 人(ren)(ren)孔(kong) 從(cong)檢(jian)修(xiu)和操作上(shang)考(kao)慮,人(ren)(ren)孔(kong)方(fang)位應布置在檢(jian)修(xiu)側,且宜設(she)在同一(yi)(yi)垂線(xian)上(shang),但(dan)不能朝(chao)(chao)向加熱爐和其他危險(xian)氣體發生區域;若有兩臺塔并列時,人(ren)(ren)孔(kong)應朝(chao)(chao)向一(yi)(yi)致(同一(yi)(yi)方(fang)向)。對有塔盤等內部(bu)結構的塔,人(ren)(ren)孔(kong)開(kai)設(she)的方(fang)位必須注意同內部(bu)構件的關系,應開(kai)設(she)在降液管以(yi)外的區域。


    ①. 塔(ta)頂人(ren)孔。注意到(dao)降液盤區即(ji)可,但(dan)降液管在300mm以下(xia)時(shi),可圓(yuan)周(360°)布置(圖 6-87)


    ②. 中(zhong)間人孔。


    ③. 塔底人孔。


87.jpg

90.jpg


 2. 儀表管(guan)口 儀表最好不要放在人孔(kong)旁(有破(po)損的危險(xian))。


    ①. 液(ye)位(wei)計(ji)和液(ye)位(wei)調節器(qi)的(de)(de)開口應布置在便于(yu)監視、檢(jian)查及能從(cong)抽出泵和調節閥的(de)(de)旁通處看得見的(de)(de)位(wei)置,且液(ye)面(mian)應不受流入液(ye)體(ti)沖擊的(de)(de)影響。


    ②. 液位調(diao)節(jie)(jie)變送器,應設在(zai)平臺(tai)或梯子上(shang)操作方(fang)(fang)便的地方(fang)(fang),站在(zai)梯子平臺(tai)上(shang)操作的液位調(diao)節(jie)(jie)器和液位計宜安裝在(zai)梯子的右側。


    ③. 液(ye)位(wei)(wei)調(diao)節(jie)器(qi)最適宜的位(wei)(wei)置,是在檢查(cha)液(ye)位(wei)(wei)調(diao)節(jie)器(qi)時(shi),可以看(kan)到液(ye)位(wei)(wei)計的地方(fang);并應考(kao)慮由于(yu)液(ye)相(xiang)進料影響的液(ye)位(wei)(wei)波(bo)動。當設(she)置的擋板不(bu)能避免液(ye)位(wei)(wei)波(bo)動時(shi),應與設(she)備專業協商解決(jue)液(ye)位(wei)(wei)計的方(fang)位(wei)(wei),取決(jue)于(yu)受液(ye)槽與重沸器(qi)返回(hui)口間(jian)的關系(xi)(圖6-92、圖6-93)。


    ④. 兩個低溫液位(wei)計不要靠在(zai)一起(qi),防止“冷橋”產(chan)生和結霜(圖6-94)。


    ⑤. 壓力表開口(kou)和壓差計上(shang)部(bu)開口(kou)應布置在氣相區。框架內的塔,如果壓力表、溫度計管口(kou)與結構梁過(guo)于接近,應考(kao)慮安裝的可能性,必要時與設備工程師(shi)商(shang)量以進行修改。


92.jpg


 3. 回流管(guan)、進料管(guan)和抽出(chu)管(guan)等布(bu)置(zhi)(圖6-95~圖6-97)塔頂(ding)氣(qi)相(餾出(chu)線(xian))開(kai)口布(bu)置(zhi)在(zai)塔頂(ding)頭蓋(gai)中部(bu),安全(quan)閥開(kai)口、放空管(guan)開(kai)口一般布(bu)置(zhi)在(zai)塔頂(ding)氣(qi)相開(kai)口的(de)附(fu)近,也(ye)可(ke)將(jiang)放空管(guan)開(kai)口布(bu)置(zhi)在(zai)塔頂(ding)氣(qi)相管(guan)道最高水平段的(de)頂(ding)部(bu)。


  塔頂(ding)回流或中段(duan)回流的(de)開口(kou),一般布置在塔板的(de)管道(dao)側,回流管的(de)內部結(jie)構(gou)和開口(kou)方位與塔溢(yi)流方式有關(guan)。


  氣(qi)相進(jin)料(liao)開口一般布(bu)置在塔板(ban)上(shang)方(fang),與(yu)降液管平行,當氣(qi)流速度較高時,應設(she)分(fen)配(pei)管;氣(qi)液相混合進(jin)料(liao)開口一般布(bu)置在塔板(ban)上(shang)方(fang),并(bing)設(she)分(fen)配(pei)管,當流速較高時應切線(xian)進(jin)入,并(bing)設(she)螺旋導(dao)板(ban)。


  塔(ta)板(ban)的抽出(chu)口(kou)(kou):單溢流(liu)塔(ta)板(ban),從流(liu)體的均衡性考(kao)慮,開(kai)口(kou)(kou)應與(yu)受液(ye)槽垂直布(bu)置;雙溢流(liu)塔(ta)板(ban),無論是一個開(kai)口(kou)(kou)或是兩個開(kai)口(kou)(kou),開(kai)口(kou)(kou)都宜布(bu)置在與(yu)降液(ye)管(guan)平行的塔(ta)中心線上。


97.jpg


聯系方式.jpg