①. 往復的管道存在著由于流體脈動而發生振動的現象,管道應盡量減少拐彎。


  ②. 為防止往復泵管道(dao)的(de)脈沖振(zhen)動,泵出口管道(dao)第一(yi)個支架(jia)(jia)應(ying)采(cai)用(yong)固定架(jia)(jia),其余支架(jia)(jia)應(ying)采(cai)用(yong)防振(zhen)管卡(ka),同時(shi)注意減小支架(jia)(jia)跨距,增加支架(jia)(jia)剛(gang)度(du),以(yi)抑制(zhi)可能產生(sheng)的(de)機械振(zhen)動。


  ③. 除(chu)注意上述要求(qiu)(qiu)外,還應根據(ju)工(gong)藝(yi)要求(qiu)(qiu)及(ji)泵制造廠的使用經驗。


  ④. 在泵出(chu)口(或盡量靠近出(chu)口)處安裝足夠容(rong)積的緩(huan)沖罐(或脈動衰減(jian)器(qi)),以緩(huan)解或消除所產生的脈沖振動。


  ⑤. 當輸送介質溫(wen)度高于180℃時,減振緩沖罐的(de)連接管應有3m左右(you)長度的(de)不保(bao)溫(wen)管段(圖6-178)。


178.jpg


  ⑥. 在泵的(de)前端應(ying)留有活塞(sai)桿(gan)抽出檢修的(de)空間;管(guan)道(dao)布(bu)置不應(ying)妨礙活塞(sai)及拉桿(gan)的(de)拆(chai)卸和檢修。


  ⑦. 在泵和第(di)一個(ge)容器之間(jian)的進出(chu)口(kou)管道上的支(zhi)管公稱(cheng)直(zhi)徑小于或等于25mm(包括(kuo)出(chu)口(kou)管道上的壓力表(biao))時,接口(kou)根部需設加(jia)強連接板(ban),以防(fang)止管接口(kou)損壞。


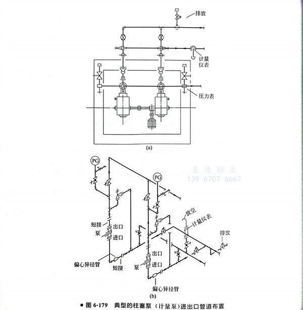
  ⑧. 典型(xing)的柱塞(sai)泵(計量泵)進出口管道布置如(ru)圖6-179所(suo)示。


179.jpg


聯系方式.jpg