氮 氮作為合金元素早期用于Cr-Mn-N和Cr-Mn-Ni-N奧氏體不銹鋼中,以節約鎳。除節鎳效果外,氮通過固溶強化可顯著提高奧氏體不銹鋼的強度,而不顯著損害其塑性和韌性,同時氮還可以提高鋼的耐均(jun)勻腐蝕(shi)、耐點蝕、耐縫隙腐(fu)蝕(shi)和耐晶(jing)間腐(fu)蝕(shi)的性能。


 由于氮(dan)的(de)(de)良好作用(yong),用(yong)氮(dan)合金化(hua)的(de)(de)奧(ao)氏體不(bu)銹(xiu)鋼(gang)不(bu)斷取得(de)進展(zhan)并獲(huo)得(de)應(ying)(ying)用(yong)。目(mu)前應(ying)(ying)用(yong)的(de)(de)含氮(dan)奧(ao)氏體不(bu)銹(xiu)鋼(gang)可以分(fen)為三種類型:


1. 控氮型(xing)


   此類鋼(gang)是在超低碳(0.02%~0.03%)鉻鎳(nie)奧(ao)氏體不(bu)銹(xiu)鋼(gang)中(zhong)加入0.05%~0.12%N,用以提高(gao)鋼(gang)的強度,使其達到含(han)穩(wen)定(ding)化(hua)元素鈦或普通(tong)低碳(≤0.08%)奧(ao)氏體不(bu)銹(xiu)鋼(gang)的水平。


2. 中氮型


   此(ci)類鋼(gang)含有(you)0.12%~0.40%N,是在正常(chang)大氣壓(ya)力條(tiao)件下冶(ye)煉和澆鑄所得到的氮合金化奧氏(shi)體不銹鋼(gang)。此(ci)類鋼(gang)以耐腐蝕為(wei)主要目的,同時具有(you)較(jiao)高的強度。


3. 高(gao)氮型


   此類(lei)鋼氮含量在(zai)0.40%以上。此類(lei)鋼在(zai)加壓條件下冶煉和澆(jiao)鑄(zhu),或者調整(zheng)鋼中的鉻、錳含量在(zai)常(chang)規條件下冶煉和澆(jiao)鑄(zhu),將(jiang)氮加入到足(zu)夠高(gao)(gao)的水平(ping)。此類(lei)鋼主要在(zai)固(gu)溶(rong)態或半冷加工狀態下使用,既具有高(gao)(gao)強度(du),又耐腐(fu)蝕。


  氮形成奧氏體的能力與碳相當,約為鎳的30倍。氮在奧氏體不銹鋼中可代替部分鎳,可降低鋼中的鐵素體含量,并使奧氏體更穩定,甚至可避免出現馬氏體轉變。在鉻鎳奧氏體不銹鋼中,氮含量的增加可形成氮化物Cr2N(圖9.54)。


54.jpg


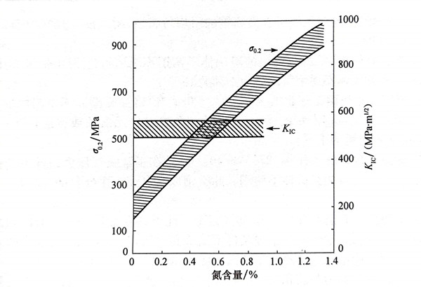
 氮顯著提高奧氏體鋼的強度(圖4.19),每加入0.010%N,可提高鉻鎳奧氏體不銹鋼的室溫強度(σ0.2σb)60~100MPa,其塑性仍保持足夠高的水平。圖9.67顯示氮含量對022Cr19Ni10鋼室溫力學性能的影響。在高氮奧氏體鋼中,氮亦可以提高其強度,氮含量為1.2%的低碳Cr-Ni-Mn-N奧氏體不銹鋼的屈服強度可達800~900MPa。曾對低碳的18Cr-18Mn-N奧氏體不銹鋼的力學性能進行過研究,經固溶處理后可獲得單一的奧氏體組織,圖9.68為氮含量對其室溫屈服強度和斷裂韌度的影響。研究結果表明,在氮固溶于奧氏體的情況下,其含量高至0.74%時,斷裂韌度不降低,而其屈服強度顯著提高。通過冷加工變形,可以進一步提高其屈服強度。在固溶氮含量為0.58%時,經過40%的冷變形,鋼的屈服強度可達1400~1500MPa,其斷裂韌度將由很高的500MPa·m1/2降至依然不錯的200MPa·m1/2


67.jpg 68.jpg


 在(zai)氮含(han)量小于0.67%時,鉻(ge)鎳奧(ao)氏體不銹鋼(gang)仍(reng)有低的(de)韌(ren)脆(cui)(cui)轉變溫(wen)度(du),在(zai)-200℃的(de)低溫(wen)下(xia)仍(reng)有足(zu)夠高的(de)沖擊性能,但(dan)當氮含(han)量達到0.84%時,其(qi)韌(ren)脆(cui)(cui)轉變溫(wen)度(du)較高,-200℃的(de)沖擊韌(ren)性已顯(xian)得過低。


  在一些酸性介質中,氮提高奧氏體不銹鋼耐一般腐蝕性能。適量的氮還提高奧氏體不銹鋼敏化態的耐晶間腐蝕性能,這是由于氮作為活性元素優先沿晶界聚集,氮降低碳原子和鉻原子的擴散能力,從而抑制M23C6型碳化物的析出和延緩σ相、x相的形成。圖9.69為氮對17Cr-13Ni-4,5Mo鋼中M23C6型碳化物析出行為的影響。適量的氮還可以顯著改善敏化狀態的耐晶間應力腐蝕開裂


69.jpg


 氮(dan)還(huan)提高鉻鎳鉬奧氏體不銹(xiu)鋼耐稀(xi)硝酸腐蝕的(de)性能。


 在氯(lv)化物環境中(zhong),氮(dan)顯著提高(gao)奧(ao)氏體不銹(xiu)鋼耐(nai)點蝕和縫(feng)隙(xi)腐(fu)蝕的(de)(de)(de)(de)性(xing)能。研(yan)究表明(ming),氮(dan)僅是強化鉻(ge)、鉬(mu)(mu)元素在奧(ao)氏體中(zhong)的(de)(de)(de)(de)耐(nai)蝕作用,鉻(ge)、鉬(mu)(mu)的(de)(de)(de)(de)存在是氮(dan)改(gai)善(shan)奧(ao)氏體不銹(xiu)鋼耐(nai)蝕作用的(de)(de)(de)(de)前(qian)提。氮(dan)耐(nai)點蝕和耐(nai)縫(feng)隙(xi)腐(fu)蝕的(de)(de)(de)(de)能力約(yue)相當于鉻(ge)的(de)(de)(de)(de)30倍。


 氮提高不銹鋼耐點蝕和耐縫隙腐蝕的機理尚有不同的觀點:氮在表面膜中富集,同時使表面膜中富鉻,從而提高鋼的鈍化能力和鈍態穩定性;氮與閉塞區的溶液反應形成NH-4,消耗H-,使初始蝕坑內pH升高,氮亦可產生NO-3,均有利于鋼的鈍化。


 鉻鎳奧氏體(ti)不銹(xiu)鋼(gang)中的(de)氮(dan)(dan)(dan)含量在0.12%~0.15%時(shi),鋼(gang)的(de)熱(re)(re)、冷(leng)(leng)加工性(xing)(xing)及冷(leng)(leng)成形性(xing)(xing)等將有所(suo)(suo)下降(jiang)。熱(re)(re)加工性(xing)(xing)能(neng)的(de)降(jiang)低(di)是由(you)于鋼(gang)中氮(dan)(dan)(dan)化物和碳氮(dan)(dan)(dan)化物的(de)析出影響了鋼(gang)的(de)熱(re)(re)塑(su)性(xing)(xing),而(er)氮(dan)(dan)(dan)的(de)固溶強(qiang)化又減緩(huan)鋼(gang)的(de)回復過(guo)程。冷(leng)(leng)加工性(xing)(xing)和冷(leng)(leng)成形性(xing)(xing)的(de)降(jiang)低(di)主要是氮(dan)(dan)(dan)固溶強(qiang)化所(suo)(suo)致(zhi)。